回到主站 六盘水中小企业公共服务平台
当前位置:首页 文章详情 吴亦凡工作室注册“大碗宽面”商标,即将进军餐饮业?
吴亦凡工作室注册“大碗宽面”商标,即将进军餐饮业?

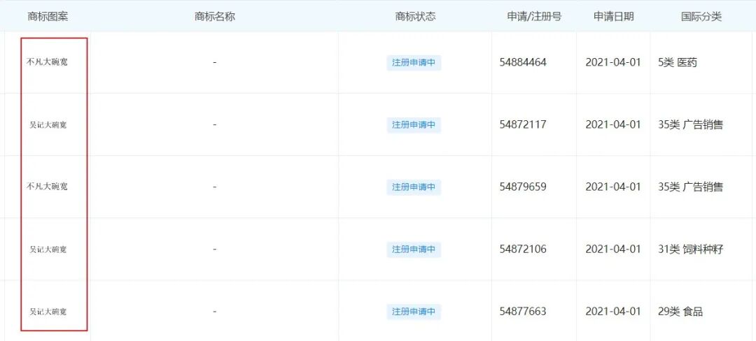
近日,有网友扒出吴亦凡工作室北京凡世文化传媒有限公司于今年4月1日悄悄申请注册了 “吴记大碗宽”、“不凡大碗宽”等商标。

 

 

《大碗宽面》是由吴亦凡创作词曲,于2019年4月19日以单曲形式发行,受到广泛欢迎。

 

 

早在2019年4月-5月,吴亦凡工作室就开始大量申请注册“大碗宽面”、“吴氏大碗宽面”以及各种蔬菜、配料、面条等卡通图形商标,申请量多达100件,其中一大部分商标已经获准注册。

 

 

值得一提的是,吴亦凡工作室还对这些卡通的logo形象进行了版权保护,于歌曲发行的前一日申请办理了版权登记。

 

 

这知识产权意识和行动力,值得点赞。近期的商标申请,应该是进一步的补充防御性注册。

 

不少网友纷纷喊话,凡凡这是打算考虑发展餐饮业了吗?

 

目前,不少明星都推出了自己的餐饮品牌,其自身影响力就是“金字招牌”,具有天然优势。吴亦凡这个“大碗宽面”更是契合餐饮市场,早日申请商标注册,既可以预防他人抢注,也能为日后发展餐饮业做好准备。

 

来源:32知协


上一篇:展贵州风采,贵州组团参加第十七届中国国际中小企业博览会
下一篇:政企交流促发展 贵州省工信厅与三省“领军”企业家座谈