回到主站 六盘水中小企业公共服务平台
当前位置:首页 文章详情 蜜雪冰城商标注册超1500件,大牌对商标保护高度重视
蜜雪冰城商标注册超1500件,大牌对商标保护高度重视

图片
​蜜雪冰城股份有限公司于近日申请注册了“蜜雪泳城”“蜜雪水城”“蜜雪冰”等多个商标,国际分类涉及方便食品、啤酒饮料、餐饮住宿、广告销售等,当前商标状态均为“商标申请中”。
图片
除此之外,还有“秘雪冰城”“蜜雪冰程”“觅雪冰城”“芈雪冰城”等由同音异形字组成的新商标,以及“蜜城冰雪”“冰城蜜雪”等将原商标颠倒字序组成的新商标。
此前,老干妈曾抢占“老干爹”“老姨妈”等商标,海底捞也在状告“河底捞”商标侵权未果后,一口气注册了“海底捡”“池底捞”等上百个相似商标。名牌商标被“山寨”屡见不鲜,创业者的知识产权自我保护意识也越来越强,申请相似商标,成为不少品牌自我保护的无奈之举。
与此同时,蜜雪冰城申请的还有幸运咖、好运咖等商标,除上述分类外,还涉及化学原料、地毯席垫、绳网袋篷、家具等类别。
图片
注册“雪王”商标、打出“洗脑神曲”一炮走红之后,经营24年的老品牌蜜雪冰城开始迎来“第二春”,在门店和产品端都开始广泛布局。今年9月底,蜜雪冰城在河南国贸开出首家体验店,除了茶饮、咖啡、雪糕甜品和烘焙,还销售炸串、瓜子、吸吸果冻等零食食品,以及玩偶、背包、笔记本等周边产品。
国庆前夕,河南证监局公示,蜜雪冰城股份有限公司拟在A股市场首次公开发行股票并上市,正在接受广发证券的上市辅导。蜜雪冰城也有望成为继奈雪之后的新式茶饮品牌第二股。
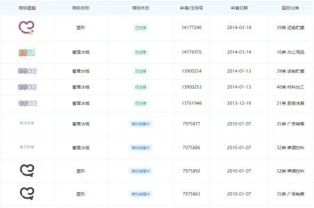
值得注意的是,主攻三四线城市的蜜雪冰城,在商标保护方面一点也不含糊,名下有1500余件商标。
其中,申请较早的一批“蜜雪冰城”和图形商标已经进入了商标续展阶段。
图片
蜜雪冰城为了保护品牌,注册了大量的“蜜雪冰城”、“mxbc”、“mi xue bing cheng”、“蜜管家”等商标,45类全类覆盖。
图片
不过,这些商标申请结果不容乐观,目前大部分都处于驳回复审中,小部分处于注册申请中。最终能否注册下来尚未可知。
但不可否认的是,蜜雪冰城对商标保护高度重视,这也是其品牌发展中重要的一环。据了解,目前蜜雪冰城加盟店已经开了1万多家,要保证品牌不被山寨,商标保护必不可少。
来源:商标知识局

上一篇:展贵州风采,贵州组团参加第十七届中国国际中小企业博览会
下一篇:【解读】提升中小企业竞争力若干措施