回到主站 六盘水中小企业公共服务平台
当前位置:首页 文章详情 玩梗营销?盒马鲜生申请多件“屁股脸”商标被驳回!为何?
玩梗营销?盒马鲜生申请多件“屁股脸”商标被驳回!为何?


近日,一则关于盒马商标驳回的消息引起大家广泛关注。

 

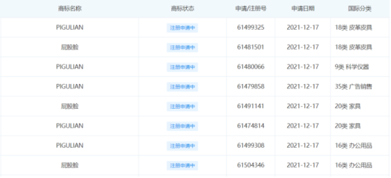
据了解,盒马(中国)有限公司于去年12月中旬申请注册的多个“屁股

脸”“PIGULIAN”商标被驳回了,国际分类涉及广告销售、服装鞋帽等。

 


盒马为何申请“屁股脸”商标?

原来啊,盒马logo中胖乎乎的河马形象,它圆润的大脸形似屁股,因此被网友调侃为“屁股脸”。

没想到,盒马官方还认了真,行动果断地为“屁股脸”申请了商标注册。遗憾的是,这些商标近期被商标局予以驳回。



很多网友表示“屁股脸”听起来贼魔性,太有才;但也有网友表示,这不过是盒马鲜生的一次营销,通过申请商标注册来做一次免费的广告,成功与否并不重要。

官方玩梗“最为致命”,但网友们却乐在其中,一件有趣的商标无疑能引起消费者们更多的关注。官方玩梗注册商标也是见怪不怪。比如腾讯云的“良心云”商标,拼多多的“拼夕夕”商标都已成功注册。当然,注册失败的也有,比如知乎的“B乎”商标等。

 


小秘不得不提醒大家的是,官方玩梗可以,但是也要在遵守《商标法》的前提下哦。

 

《商标法》有一条规定,有害于社会主义道德风尚或者有其他不良影响的标识不得作为商标使用。

 

这里提到的“不良影响”有多个方面,主要包括政治不良影响、宗教不良影响、道德不良影响、文化不良影响以及有害于种族尊严或者感情,与各国法定货币的图案、名称或者标记相同或者近似,容易误导公众等多种类型。

 

正如网友所说,“屁股脸”注册商标有点不雅。盒马的这件“屁股脸”商标,很可能就是因不良影响被驳回。

 

在过往案例中,因不良影响被驳回的商标也有不少,比如因为构成道德不良影响被驳回的有“叫了个鸡”、“屁颠儿”、“黄态”、“寻欢”、“MLGB”、“李叫兽”等;因为构成宗教不良影响被驳回的有阿里的“达摩院”等等。

 


盒马这个案例,也再次警醒各位商标申请人,注册商标时要有格调,提升避让“不良影响”的敏感度,不能随心所欲,盲目追求标志的个性化表达。以牺牲公共利益和社会秩序为代价博人眼球,无疑是搬起石头砸自己的脚。



来源:商标圈


上一篇:展贵州风采,贵州组团参加第十七届中国国际中小企业博览会
下一篇:国家高新技术企业认定,要求进一步降低!!